电影天堂-电影天堂官方最快发布站

电影天堂-电影天堂官方最快发布站 > 汕尾市市场监督管理局 > 专题专栏 > 重点领域信息公开专栏 > 知识产权行政处罚公示 > 专利代理人处罚信息

风险预警 | 汕尾海上风电产业海外知识产权风险预警

发布日期: 2023-09-27 12:02 来源: 本网 字体大小:

  海洋产业集群的崛起,为汕尾经济高质量发展提供了持续动能。近年来,汕尾大力发展海上风电,重点推进甲湖湾电厂机组扩建工程和陆丰后湖、甲子、碣石海上风电场等项目规划建设,成功实现后湖海上风电场全场并网发电,新增推进红海湾海上风电场项目规划建设,打造全省乃至全国重要的电力能源生产基地。目前,汕尾有140万千瓦的海上风电场已实现全容量并网,标志着全国最大的平价海上风电场建成投运,已成为粤东地区首个超百万千瓦级海上风电基地。

  随着汕尾海上风电企业做大做强,来自国际市场的竞争压力上升,相关企业应注意知识产权国际合规,规避侵权风险。本文对近年来海外风电行业典型知识产权纠纷进行梳理分析,以供相关企业参考。

  一、西门子能源、通用电气海上风电机专利侵权案

  2023年8月7日,西门子能源公司和通用电气公司旷日持久的海上风电专利诉讼和解结案。该案持续逾3年,双方在诉讼过程中针锋相对,通用电气公司的旗舰产品获禁止令并被判罚高额赔偿金,西门子一件专利被无效,是近年来海上风电行业影响颇深的重大案件。

  (一)案件背景

  2020年9月29日, SIEMENS GAMESA RENEWABLE ENERGY A/S (以下简称“西门子能源”)在美国佛罗里达州中区法院发起专利侵权诉讼(案号 1:21-cv-10216),GENERAL ELECTRIC CO., 和GE RENEWABLES NORTH AMERICA, LLC(以下统称“通用电气”)为列明被告,该案于2021年被转移至马塞诸萨州地区法院立案。

  (二)当事人简介

  原告西门子能源是全球能源领域的领军企业,发电量占全球总发电量约1/6,在全球超过90个国家和地区开展业务,全球员工超过9万2千名,每年投入研发费用约10亿欧元。在风电方面,西门子能源全球装机容量超过127GW,能够为 1.17亿户家庭用电提供清洁能源,其海上风电装机容量排名位居全球首位。

  被告通用电气是全球最大的新能源企业之一,于2002年首次进入风电市场,目前在风电领域处于全球领先地位。根据通用电气2020年披露数据,其全球装机风力发电机超过35000个,其中,通用电气在美国有超过25000个陆基风力发电机,发电量可供应一千一百万家庭。

  (三)涉案产品

  根据诉状,涉案产品为通用电气生产的Haliade-X系列海上风力发电机,包括Haliade-X 12 MW和Haliade-X 13 MW两个型号,预计将在马里兰州海岸的Skipjack风电场和新泽西州海岸的Ocean Wind 风电场投入使用。

  涉案产品介绍图(图片来源:起诉书)

  Haliade-X系列海上风力发电机是通用电气的旗舰产品,是全球首个超10兆瓦级风力发电机。以其12 MW型号为例,叶片长达107米,转子直径为220米,轮毂高度为135米,叶尖最大高度为260米,约为纽约自由女神像从地面到火炬尖端高度的三倍。1台Haliade-X 12MW机型机组每年可发出高达6700万度电,能够为多达1.6万户家庭供电。

  涉案产品结构图(图片来源:通用电气官网)

  (四)涉案专利

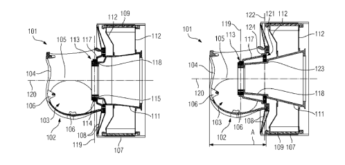
  西门子能源主张的专利共2件,公开号分别为US8575776('776号专利)和US9279413('413号专利),均涉及风力发电机的定子及转子结构。

  '776号专利名称为“具有发电机的风力涡轮机”,申请于2012年2月,预计2032年3月失效。发明内容主要为一种具有发电机的风力涡轮机,包括带有永磁体的转子和带有安装在定子支撑结构上的定子线圈的定子,其部件易于组装,能够形成坚固且稳定的定子支撑结构,并改善了风力涡轮机的通风性能,从而提高了运行效率和部件寿命。该专利在欧洲和中国具有同族专利,并且法律状态全部为有效。

  '776号专利摘要附图(图片来源:USPTO)

  西门子能源主张,通用电气生产的Haliade-X系列海上风力发电机的电机结构同样包括内侧装载永磁体的转子,以及具有相同连接结构的定子,至少侵犯了'776号专利的第1条权利要求。

  '776号专利侵权比对图(图片来源:起诉书)

  '413号专利名称为“风力涡轮机”,申请于2013年4月,预计2034年6月失效。发明内容主要为一种新型结构的风力发电机,该风力发电机具有改善的电机支撑结构,因此能够实现较大尺寸的叶片,提高装机容量,并产出更多电能。该专利在欧洲、中国、丹麦和波兰具有同族。

  '413号专利摘要附图(图片来源:USPTO)

  西门子能源主张,通用电气生产的Haliade-X系列海上风力发电机具有相同的定子、转子和电机支撑结构,至少侵犯了'413号专利的第1、8条权利要求。

  '413号专利侵权比对图(图片来源:起诉书)

  (五)案件结果

  2022年9月7日,审理本案的马塞诸萨州地区法院法官 YOUNG, D.J. 判决通用电气侵犯西门子能源'413号专利的权利要求1-2、8、11,对通用电气的Haliade-X系列海上风力发电机下达永久禁令,直至'413号专利失效(预计2034年6月失效)。对于所有安装于马塞诸萨州Vineyard的Haliade-X系列海上风力发电机,通用电气需向西门子能源支付电机额定容量的每兆瓦30000美元的合理使用费。

  值得注意的是,法官在判决书中特别指出,允许通用电气继续生产为马塞诸萨州Vineyard Wind 1 Offshore Energy项目提供的62个海上风力发电机,以及为新泽西州的Ocean Wind项目提供的海上风力发电机。此外,法官判定通用电气并未侵犯'776号专利,并裁定西门子能源'776号专利的权利要求1-3、6-7因缺乏非显而易见性(Invalid as Obvious)和缺乏书面描述(Lack of Written Description)而无效。

  西门子能源对判决提出异议,主张通用电气在Ocean Wind项目中持续使用Haliade-X系列海上风力发电机属于故意侵权,请求法院判决三倍的惩罚性赔偿(电机额定容量的每兆瓦90000美元)。

  2023年2月3日,YOUNG, D.J. 法官做出修改判决,在保持原有每兆瓦30000美元的侵权损害赔偿的基础上,补充判决通用电气向西门子能源支付所有安装于新泽西州的Ocean Wind项目的Haliade-X系列海上风力发电机的额定容量的每兆瓦60000美元的合理使用费。

  2023年4月11日,西门子能源与通用电气向法院提交联合撤案协议书(JOINT STIPULATION OF DISMISSAL),该案最终以和解结案。根据法律评论媒体相关报道,西门子能源与通用电气已私下达成系争专利及同族专利的交叉许可。

  二、戴蒙德海上钻探公司、钻石风电公司商标侵权案

  2023年4月18日,Diamond Offshore Drilling, Inc.(美国戴蒙德海上钻探公司,以下简称“戴蒙德海上钻探”)在美国特拉华州地区法院发起商标侵权诉讼,Diamond Wind North America, LLC(美国钻石风电公司,以下简称“钻石风电”)为列明被告。

  (一)当事人简介

  原告戴蒙德海上钻探是一家美国特拉华州公司,成立于1989年,营业地点为15415 Katy Freeway, Houston, Texas 77094,是海上钻井行业的全球领导者,通过其12个海上钻井设备为海上风电等能源行业提供钻井服务,其中包含8个自升式钻井、4个动力定位钻井船。

  戴蒙德海上钻探公司(图片来源:公司官网)

  被告钻石风电是一家美国特拉华州公司,成立于2021年,营业地点为1 International Place, Suite 910, Boston, MA 02110,其前身为成立于2020年的Diamond Offshore Wind, LLC。钻石风电是Diamond Generating Corporation (DGC)公司的全资子公司,而DGC进一步是三菱公司的全资子公司。借助三菱公司在全球海上风电市场的成功,以及DGC作为美国独立电力供应商的经验,钻石风电正发展为美国海上风电市场的领导者。

  钻石风电(图片来源:公司官网)

  二、涉案商标

  涉案商标为戴蒙德海上钻探的“DIAMOND OFFSHORE”商标(注册号:1978647,以下简称’647号商标),该商标于1996年6月4日注册生效,经核定使用在第37类包括油井钻探的相关服务上。

  涉案商标(图片来源:USPTO)

  戴蒙德海上钻探声称,钻石风电使用了与’647号商标相混淆的“DIAMOND OFFSHORE WIND”作为其服务名称和标识,并持续以“DIAMOND OFFSHORE WIND”为标识对其海上风电服务进行广告宣传、销售及许诺销售。

  三、案件进展

  继戴蒙德海上钻探于2023年4月18日提起诉讼后,钻石风电于2023年5月10日向法院提交答辩状并提起反诉。钻石风电指控戴蒙德海上钻探在系争商标的续展中存在欺骗行为,且系争商标核准使用的服务内容过于宽泛,并与其实际用途不符,请求法院宣告’647号商标无效。在答辩状中,钻石风电声称其使用“DIAMOND OFFSHORE WIND”的行为并不构成混淆,因为两家公司的主营市场不同:钻石风电主要经营海上风力发电,而戴蒙德海上钻探仅仅是为海上油井提供钻井服务。钻石风电还声称,其使用包含“DIAMOND”一词的标识是因为其母公司三菱公司的标识包含“三颗钻石”的含义。

  目前,该案尚处于审理阶段。












关联稿件:
相关附件:
标签:
分享:
扫码浏览
扫一扫在手机打开当前页
相关推荐:

您访问的链接即将离开“汕尾市市场监督管理局”网站,是否继续?

--